|
ຄວາມກົດດັນ / MPa |
ອຸນຫະພູມ / °C |
ຄວາມໄວ /m/s |
ຂະຫນາດກາງ |
|
≤40 |
-35~+100 (ມີ O-rings NBR ທີ່ກົງກັນ) |
≤2 |
ນ້ໍາມັນໄຮໂດຼລິກ, emulsion, ນ້ໍາ, ອາຍແກັສ, ແລະອື່ນໆ. |
-20~+200 (ມີ O-rings FKM ທີ່ກົງກັນ) |
1. ວັດສະດຸ O-ring ທີ່ເຫມາະສົມປະກອບມີ: R01 Nitrile Butadiene Rubber (NBR), R02 Fluororubber (FKM), ແລະອື່ນໆ.
2. ວັດສະດຸວົງການຜະນຶກ: ວັດສະດຸມາດຕະຖານ PTFE3 ແລະ PTFE4; ອຸປະກອນທາງເລືອກອື່ນໆປະກອບມີ PTFE1, PTFE2, ແລະ PTFE5.
Ruichen ໄດ້ດໍາເນີນການຄົ້ນຄ້ວາເອກະລາດແລະການພັດທະນາແລະການຜະລິດຈາກຈຸດເລີ່ມຕົ້ນຂອງວັດຖຸດິບ, realizing ການຄວບຄຸມຂອງລະບົບຕ່ອງໂສ້ທັງຫມົດຂອງຜະລິດຕະພັນ.
1. ວິສະວະກໍາພາດສະຕິກແລະວັດສະດຸປະສົມ: ພວກເຮົາເອົາ polytetrafluoroethylene (PTFE) ເປັນຫຼັກ, ຈາກການປະສົມ, sintering ກັບ molding, ການຜະລິດເອກະລາດຂອງທຸກປະເພດຂອງທໍ່ແລະ rod ວັດສະດຸປະສົມດັດແກ້, ແລະຫຼັງຈາກນັ້ນການປຸງແຕ່ງຄວາມແມ່ນຍໍາເຂົ້າໄປໃນປະທັບຕາ. ນີ້ຮັບປະກັນຄວາມຫມັ້ນຄົງແລະການປັບແຕ່ງຂອງຄຸນສົມບັດວັດສະດຸ.
2. ປະສິດທິພາບສູງ polyurethane elastomer: ພວກເຮົາເລີ່ມຕົ້ນຈາກການຫລໍ່ prepolymer, ເປັນເອກະລາດຜະລິດທໍ່ polyurethane ຄຸນນະພາບສູງແລະວັດສະດຸ rod, ແລະປຸງແຕ່ງໃຫ້ເຂົາເຈົ້າເຂົ້າໄປໃນປະເພດຕ່າງໆຂອງປະທັບຕາ, ທີ່ຍັງຄ້າງຄາໃນການຕໍ່ຕ້ານການສວມໃສ່, ການຕໍ່ຕ້ານຄວາມກົດດັນແລະການຕໍ່ຕ້ານ hydrolysis.
ຕົວຢ່າງການສັ່ງຊື້
ຮູບແບບການສັ່ງຊື້ RC2054—80×69×4.2—PTFE3—R01 Model-D*d*L- ລະຫັດວັດສະດຸ ຮູບແບບການສັ່ງຊື້ RCX18—80×69x4.2—HPU Model-D*d*L- ລະຫັດວັດສະດຸ
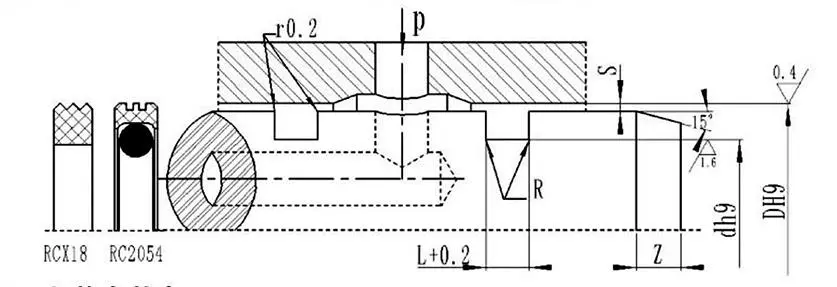
ຕາຕະລາງຂໍ້ມູນຈໍາເພາະແລະພາລາມິເຕີ (ຂໍ້ກໍານົດໃດໆພາຍໃນຂອບເຂດພາລາມິເຕີສາມາດໃຊ້ໄດ້)
|
ໄລຍະຮູຮັບແສງ DH9 |
ເສັ້ນຜ່າສູນກາງ Trench dh9 |
ຄວາມກວ້າງຂອງຮ່ອງ L+0.2 |
ການເກັບກູ້ radial Smax |
ມຸມມົນ Rmax |
Chamfer Zmin |
|
|
0 ~ 10 Mpa |
10 ~ 20 Mpa |
|||||
|
8~39 |
D-4.9 |
2.2 |
0.15 |
0.1 |
0.4 |
2 |
|
40~79 |
D-7.5 |
3.2 |
0.2 |
0.15 |
0.6 |
3 |
|
80~132 |
D-11.0 |
4.2 |
0.25 |
0.2 |
1.0 |
4 |
|
133–329 |
D-15.5 |
6.3 |
0.3 |
0.25 |
1.3 |
5 |
|
330~669 |
D-21.0 |
8.1 |
0.3 |
0.25 |
1.8 |
7 |
|
670~1500 |
D-28.0 |
9.5 |
0.45 |
0.3 |
2.0 |
8 |
|
D |
d |
L |
D |
d |
L |
D |
d |
L |
D |
d |
L |
|
8 |
3.1 |
2.2 |
50 |
42.5 |
3.2 |
170 |
154.5 |
6.3 |
380 |
359.0 |
8.1 |
|
10 |
5.1 |
2.2 |
55 |
47.5 |
3.2 |
180 |
164.5 |
6.3 |
390 |
369.0 |
8.1 |
|
12 |
7.1 |
2.2 |
60 |
52.5 |
3.2 |
190 |
174.5 |
6.3 |
400 |
379.0 |
8.1 |
|
14 |
9.1 |
2.2 |
63 |
55.5 |
3.2 |
200 |
184.5 |
6.3 |
420 |
399.0 |
8.1 |
|
15 |
10.1 |
2.2 |
65 |
57.5 |
3.2 |
210 |
194.5 |
6.3 |
450 |
429.0 |
8.1 |
|
16 |
11.1 |
2.2 |
70 |
62.5 |
3.2 |
220 |
204.5 |
6.3 |
480 |
459.0 |
8.1 |
|
18 |
13.1 |
2.2 |
75 |
67.5 |
3.2 |
230 |
214.5 |
6.3 |
500 |
479.0 |
8.1 |
|
20 |
15.1 |
2.2 |
80 |
69.0 |
4.2 |
240 |
224.5 |
6.3 |
520 |
499.0 |
8.1 |
|
22 |
17.1 |
2.2 |
85 |
74.0 |
4.2 |
250 |
234.5 |
6.3 |
550 |
529.0 |
8.1 |
|
24 |
19.1 |
2.2 |
90 |
79.0 |
4.2 |
260 |
244.5 |
6.3 |
600 |
579.0 |
8.1 |
|
25 |
20.1 |
2.2 |
95 |
84.0 |
4.2 |
270 |
254.5 |
6.3 |
630 |
609.0 |
8.1 |
|
28 |
23.1 |
2.2 |
100 |
89.0 |
4.2 |
280 |
264.5 |
6.3 |
650 |
629.0 |
8.1 |
|
30 |
25.1 |
2.2 |
105 |
94.0 |
4.2 |
290 |
274.5 |
6.3 |
670 |
642.0 |
9.5 |
|
32 |
27.1 |
2.2 |
110 |
99.0 |
4.2 |
300 |
284.5 |
6.3 |
700 |
672.0 |
9.5 |
|
35 |
30.1 |
2.2 |
115 |
104.0 |
4.2 |
310 |
294.5 |
6.3 |
750 |
722.0 |
9.5 |
|
36 |
31.1 |
2.2 |
120 |
109.0 |
4.2 |
320 |
304.5 |
6.3 |
800 |
772.0 |
9.5 |
|
38 |
33.1 |
2.2 |
125 |
114.0 |
4.2 |
330 |
309.0 |
8.1 |
1000 |
972.0 |
9.5 |
|
40 |
32.5 |
3.2 |
130 |
119.0 |
4.2 |
340 |
319.0 |
8.1 |
|
|
|
|
42 |
34.5 |
3.2 |
140 |
124.5 |
6.3 |
350 |
329.0 |
8.1 |
|
|
|
|
45 |
37.5 |
3.2 |
150 |
134.5 |
6.3 |
360 |
339.0 |
8.1 |
|
|
|
|
48 |
40.5 |
3.2 |
160 |
144.5 |
6.3 |
370 |
349.0 |
8.1 |
|
|
|
ໝາຍເຫດ: ຂໍ້ມູນສະເພາະທີ່ຈຳເປັນບໍ່ໄດ້ລະບຸໄວ້ໃນນີ້; ກະລຸນາຕິດຕໍ່ບໍລິສັດຂອງພວກເຮົາ. ພວກເຮົາສະເຫນີຜະລິດຕະພັນທີ່ມີເສັ້ນຜ່າກາງສູງສຸດຂອງ 2800mm.



ທີ່ຢູ່
No.1 Ruichen ຖະຫນົນອຸດສາຫະກໍາຕ່າງໆ, ເມືອງ Chengyang City, ເມືອງ Qingdao City, ແຂວງ Shandnong, ຈີນ