ບໍລິສັດຈໍາກັດ Qingdao Ruichen ບໍລິສັດ Policing Technology Co. , Ltd.
ບໍລິສັດຈໍາກັດ Qingdao Ruichen ບໍລິສັດ Policing Technology Co. , Ltd.
ຜະລິດຕະພັນ
X

ແຫວນ Wiper

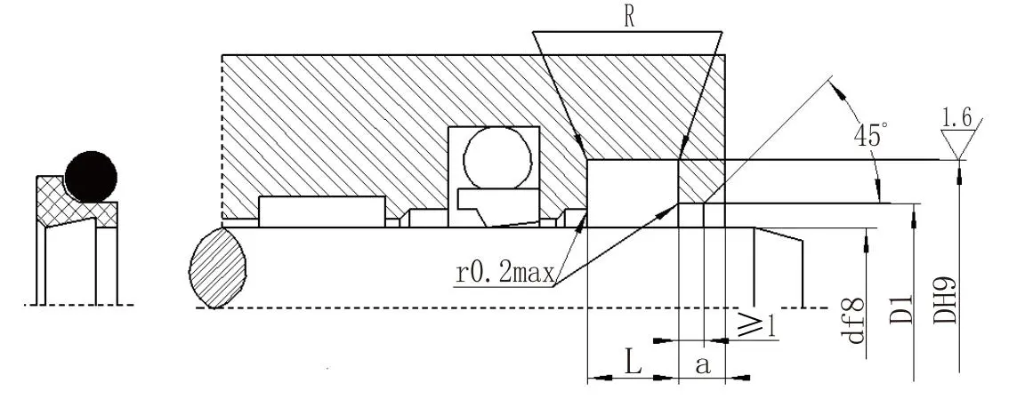
ປະທັບຕາຂີ້ຝຸ່ນສອງຄັ້ງທີ່ປະສົມປະສານໂດຍການປະທັບຕາ (ຜູ້ສະຫນອງ Paston Rod ທີ່ມີຊື່ສຽງ (ຜູ້ສະຫນອງສິນຄ້າທີ່ມີຄວາມສຸກໃນປະເທດຈີນ) ແມ່ນປະກອບດ້ວຍແຫວນປະທັບຕາຂອງ PTFE ທີ່ເຕັມໄປແລ້ວແລະແຫວນ O RSE. ມັນມີການປ້ອງກັນຂີ້ຝຸ່ນສອງທາງແລະໃສ່ແບບອັດຕະໂນມັດ, ມີຄວາມແຕກຕ່າງຕໍ່າ, ມີຊີວິດທີ່ຍາວນານໃນສະຖານະການເຄື່ອນໄຫວອຸດສາຫະກໍາຕ່າງໆເຊັ່ນ: ແກວ່ງ, ແກວ່ງແລະກ້ຽວວຽນ.

ການປະຕິບັດງານແລະການນໍາໃຊ້

STIP-STHE-STIP-STIP-SEE SEE SEE SEE A STALLIONSALS STALLSTIVERSAL ANTS WIPE ປະກອບດ້ວຍແຫວນ wiper ທີ່ເຕັມໄປດ້ວຍປາກແລະແຫວນ O ວົງແຫວນ. The O-Ring ໃຫ້ການຍົກແປງ, ຊົດເຊີຍສໍາລັບໃສ່ໃນວົງແຫວນ PTFE. ມັນເຫມາະສົມກັບການຕອບແທນ, oscillating, ຫຼື motions ກ້ຽວວຽນ.


ເງື່ອນໄຂການເຮັດວຽກ

ຄວາມກົດດັນ MPA

ອຸນຫະພູມ° C

ຄວາມໄວ m / s

ກາງ

-

-35 ~ + 100 (ການຈັບຄູ່ O-ring nbr)

6

ນ້ໍາມັນບົບໄຮໂດຼລິກ, emulsion, ນ້ໍາ, ແລະອື່ນໆ.

-20 ~ + 200 (ການຈັບຄູ່ O-ring fkm)


ຕົວຢ່າງ

ຮູບແບບ RCF02-80-PTFE3-R01

RCF02 - Model 80 - Shaft ເສັ້ນຜ່າສູນກາງ PTFE3 - ຈຸດປະສົງທົ່ວໄປ PTFE Modified PTFE RO1 RO1 - ກົງກັບລະຫັດວັດສະດຸທີ່ກົງກັນ

Nitrile (NBR) - R01, Fluorocarbon (FKIM) - RO2

ຕາຕະລາງພາລາມິເຕີທີ່ສະເພາະ (ຜະລິດຕະພັນຂອງຂະຫນາດໃດຫນຶ່ງພາຍໃນຂອບເຂດພາລາມິເຕີສາມາດສະຫນອງໄດ້)

ລະດັບເສັ້ນຜ່າກາງຂອງ Shaft D F8

ເສັ້ນຜ່າສູນກາງຮ່ອງ d h9

ຄວາມກວ້າງຂອງຮ່ອງ l+0.2

ເປີດເສັ້ນຜ່າສູນກາງຂຸມ

D1h11

ເປີດຂຸມ width ອັກໂຂ

ມຸມມົນ ຕ່ໍາ

ເສັ້ນຜ່າສູນກາງສາຍ O-ring

d0

4 ~ 11

D + 4.8

3.7

D + 1.5

2

0.4

1.80

12 ~ 64

D + 6.8

5.0

D + 1.5

2

0.7

2.65

65 ~ 250

D + 8.8

6.0

D + 1.5

3

1.0

3.55

251 ~ 420

d + 12.2

8.4

D + 2.0

4

1.5

5.30

421 ~ 650

D + 16.0

11.0

D + 2.0

4

1.5

7.00

651 ~ 1500

D + 20.0

14.0

D + 2.5

5

2.0

8.60


Hot Tags: ແຫວນ Wiper
ສົ່ງສອບຖາມ
ຂໍ້​ມູນ​ຕິດ​ຕໍ່
  • ທີ່ຢູ່

    No.1 Ruichen ຖະຫນົນອຸດສາຫະກໍາຕ່າງໆ, ເມືອງ Chengyang City, ເມືອງ Qingdao City, ແຂວງ Shandnong, ຈີນ

ໄດ້ຮັບລາຄາທີ່ແຂ່ງຂັນ, ການສະຫນັບສະຫນູນດ້ານເຕັກນິກ, ແລະການຕອບສະຫນອງໄວ. ສົ່ງສະເພາະຂອງທ່ານໄປທີ່ Ruichen ສໍາລັບການຜະນຶກວິທີແກ້ໄຂທີ່ເຫມາະສົມ. ຕົວຢ່າງຟຣີທີ່ມີຢູ່.
X
ພວກເຮົາໃຊ້ cookies ເພື່ອສະເຫນີໃຫ້ທ່ານມີປະສົບການການຊອກຫາທີ່ດີກວ່າ, ວິເຄາະການເຂົ້າຊົມເວັບໄຊທ໌ແລະປັບແຕ່ງເນື້ອຫາ. ໂດຍການນໍາໃຊ້ເວັບໄຊທ໌ນີ້, ທ່ານຕົກລົງເຫັນດີກັບການນໍາໃຊ້ cookies ຂອງພວກເຮົາ. ນະໂຍບາຍຄວາມເປັນສ່ວນຕົວ
ປະຕິເສດ ຍອມຮັບ