ປະທັບຕາພື້ນຖານຂອງໄຮໂດຼລິກພື້ນຖານຂອງສານປະທັບຕາລວມທັງຫລາຍປະເພດຂອງປະທັບຕາ, ແຕ່ລະຄົນມີຂໍ້ດີຂອງມັນເອງ. O-Rings ແມ່ນຖືກນໍາໃຊ້ຢ່າງກວ້າງຂວາງໃນໂອກາດປະທັບຕາທີ່ມີແບບເຄື່ອນໄຫວແລະສະຖິດຍ້ອນຄ່າໃຊ້ຈ່າຍໃນການຜະລິດລາຄາແລະການນໍາໃຊ້ທີ່ສະດວກ. ບັນດາປະເທດສ່ວນໃຫຍ່ໄດ້ສ້າງມາດຕະຖານຜະລິດຕະພັນຊຸດສໍາລັບ O-Rings, ໃນນັ້ນມາດຕະຖານຂອງອາເມລິກາ (Jisb2401) ແລະມາດຕະຖານສາກົນ 3601/1) ແມ່ນພົບເລື້ອຍກວ່າ. ມາດຕະຖານແຫ່ງຊາດແມ່ນ GB3452.1 ແລະ GB1235.
ແຫວນປະທັບຕາທີ່ມີຮູບຊົງດາວແມ່ນປະທັບຕາສີ່ແຜ່ນທີ່ມີຮູບຊົງ X ທີ່ມີຮູບຊົງ x, ສະນັ້ນມັນກໍ່ຖືກເອີ້ນວ່າແຫວນທີ່ມີຮູບຊົງ x. ມັນແມ່ນການປັບປຸງແລະການປັບປຸງໂດຍອີງໃສ່ O-Ring. ຂະຫນາດຂ້າມພາກສ່ວນຂອງມັນແມ່ນຄືກັນກັບ O-Ring ຂອງສະຫະລັດເປັນມາດຕະຖານ 568A, ແລະໂດຍພື້ນຖານແລ້ວມັນສາມາດທົດແທນການນໍາໃຊ້ແຫວນ O-ring.
ຂໍ້ໄດ້ປຽບຂອງແຫວນດາວ
ເມື່ອປຽບທຽບກັບແຫວນ O-rings ມີຄວາມຕ້ານທານ friction ຫນ້ອຍແລະຄວາມຕ້ານທານທີ່ນ້ອຍທີ່ສຸດເພາະວ່າມັນເປັນຢູ່ຕາມໂກນ lubricating ລະຫວ່າງສົບຂອງປະທັບຕາ. ເນື່ອງຈາກວ່າແຂບ flash ຂອງມັນຕັ້ງຢູ່ໃນສ່ວນຫນຶ່ງຂອງພາກສ່ວນຂ້າມ, ຜົນກະທົບຂອງການປະທັບຕາແມ່ນດີກວ່າ. ສ່ວນຂ້າມທີ່ບໍ່ແມ່ນວົງກົມທີ່ຫລີກລ້ຽງການປະກົດການມ້ວນໃນລະຫວ່າງການເຄື່ອນໄຫວທີ່ບໍ່ມີການປ່ຽນແປງ.
ກົນໄກການເຮັດວຽກຂອງດາວ
ແຫວນດາວແມ່ນສ່ວນປະກອບຂອງການປະຕິບັດການສະແດງທີ່ແຫນ້ນຫນາ. ກອງກໍາລັງລັງສີແລະແກນຂື້ນກັບຄວາມກົດດັນຂອງລະບົບ. ໃນຂະນະທີ່ຄວາມກົດດັນສູງຂື້ນ, ການເສື່ອມໂຊມຂອງດາວຈະເພີ່ມຂື້ນ, ແລະກໍາລັງປະທັບຕາທັງຫມົດຈະເພີ່ມຂື້ນ, ດັ່ງນັ້ນຈຶ່ງເປັນປະທັບຕາທີ່ຫນ້າເຊື່ອຖື.
ວິທີການເລືອກແຫວນປະທັບຕາທີ່ເປັນຮູບດາວ
ຖ້າເສັ້ນຜ່າສູນກາງຂອງ shaft ແລະຂຸມແມ່ນເປັນທີ່ຮູ້ຈັກ, ເລືອກແຫວນປະທັບຕາຂອງດາວທີ່ເຫມາະສົມຕາມມາດຖານຕໍ່ໄປນີ້:
1. ການຜະລິດທີ່ສະຖຽນລະພາບຫລືການເຄື່ອນໄຫວທີ່ບໍ່ໄດ້ຮັບການປ່ຽນແປງ: ເນື່ອງຈາກວ່າກໍາລັງ PRE-Compress ທີ່ສ້າງຂື້ນໂດຍການບີບອັດລ່ວງຫນ້າສາມາດປ້ອງກັນບໍ່ໃຫ້ແຫວນປະທັບຕາຂອງດາວມີປະສິດທິຜົນຈາກການບິດແລະມ້ວນ. (2. ດ້ວຍເຫດນັ້ນ, ແຫວນປະທັບຕາຈະງ່າຍຕໍ່ການຕິດຕັ້ງແລະມີຊີວິດການບໍລິການທີ່ຍາວກວ່າ.
2. ເສັ້ນຜ່າປະທັບຕາ: ເສັ້ນຜ່າສູນກາງພາຍໃນຂອງວົງແຫວນທີ່ມີຮູບຊົງເປັນປະມານ 2 ~ 5% ຂະຫນາດໃຫຍ່ກ່ວາເສັ້ນຜ່າກາງຂອງເພົາມັນປະທັບຕາ. ເນື່ອງຈາກວ່າແຫວນປະທັບຕາຈະສ້າງຄວາມຂັດແຍ້ງແລະຄວາມຮ້ອນໃນເວລາທີ່ໃຊ້ໃນການເຄື່ອນໄຫວແບບຫມູນ, ແລະຢາງຈະຫົດຕົວລົງເມື່ອມີຄວາມຮ້ອນ (ກະດູກສັນຫຼັງ). ເພາະສະນັ້ນ, ເພື່ອຮັບປະກັນວ່າແຫວນປະທັບຕາສາມາດຫລໍ່ຫລອມແລະເຮັດວຽກທີ່ຫນ້າເຊື່ອຖື, ແຫວນຮູບດາວທີ່ມີເສັ້ນຜ່າສູນກາງພາຍໃນມີຂະຫນາດໃຫຍ່ກວ່າເສັ້ນຜ່າສູນກາງ. ໂດຍປົກກະຕິແລ້ວ, ແຫວນປະທັບຕາທີ່ມີສ່ວນຂ້າມທີ່ນ້ອຍກວ່າສາມາດຕອບສະຫນອງຄວາມຕ້ອງການຂອງການຜະນຶກສະຕິ. ໃນທາງກົງກັນຂ້າມ, ແຫວນປະທັບຕາທີ່ມີສ່ວນຂ້າມທີ່ໃຫຍ່ກວ່າຄວນໄດ້ຮັບການຄັດເລືອກເພື່ອຕອບສະຫນອງການປະທັບຕາແບບເຄື່ອນໄຫວ. ໃນກໍລະນີຂອງຄວາມກົດດັນສູງຫຼືຊ່ອງຫວ່າງຂະຫນາດໃຫຍ່, ວັດສະດຸຢາງທີ່ມີຄວາມແຂງແຮງສູງຕ້ອງໄດ້ຮັບການຄັດເລືອກ. ວິທີທີ່ດີທີ່ສຸດແມ່ນການເພີ່ມແຫວນແຫວນທີ່ເກັບຮັກສາ PTFE ເພື່ອປ້ອງກັນຄວາມເສຍຫາຍດ້ານຄວາມຮຸນແຮງສູງ.
ການເຄືອບ O-Ring ໂດຍທົ່ວໂລກປະສົມປະສານກັບຄວາມຍືດຍຸ່ນແລະການຜະນຶກຂອງຢາງທີ່ມີຄວາມຕ້ານທານສານເຄມີຂອງ Teflon. ມັນປະກອບດ້ວຍແກນໃນ Silicone ຫຼື Fluorurrubber ແລະບາງສ່ວນໃນການເຄືອບ teflon ຂອງ Teflon ຫຼື teflon pfa.
ວັດສະດຸ: Teflon Fep ແລະ Teflon PFA ແມ່ນຄ້າຍຄືກັນ, ແຕ່ວ່າ Teflon PFA ມີຄວາມຕ້ານທານອຸນຫະພູມສູງກ່ວາ teflon fep. ຫ້ອງອຸນຫະພູມທີ່ໃຊ້ໄດ້
1. ຄວາມຕ້ານທານສານເຄມີທີ່ຍັງຄ້າງຄາ, ເຫມາະສໍາລັບສື່ສານເຄມີເກືອບທັງຫມົດ
2. ລະດັບອຸນຫະພູມກວ້າງ
3. ຄວາມຕ້ານທານການບີບອັດທີ່ດີ
4. ການຕ້ານການ friction
5. ການຕ້ານການໃຄ່ບວມທີ່ດີ
.. ຄວາມຕ້ານທານແຮງດັນສູງ
.. ຄວາມທົນທານດ້ານການສະແດງທີ່ດີເລີດແລະຊີວິດການບໍລິການຍາວນານ
ຄໍາຮ້ອງສະຫມັກແລະເຄື່ອງຈັກແລະປ່ຽງ, ເຮືອປະຕິກິລິຍາ, ການປະຕິບັດກົນຈັກ, ເຄື່ອງກໍານົດຄວາມປອດໄພ, ເຄື່ອງປັ່ນປ່ວນ, ເຄື່ອງອັດ, ເຄື່ອງອັດແລະອື່ນໆ.
ອຸດສາຫະກໍາເຄມີ, ອຸດສາຫະກໍາເຄມີ, ອຸດສາຫະກໍາການຢາ, ອຸດສາຫະກໍາການປຸງແຕ່ງ, ອຸດສາຫະກໍາ, ສີຍ້ອມຜ້າ, ການສີດພົ່ນທາສີ, ແລະອື່ນໆ
ຄໍາແນະນໍາໃນການຕິດຕັ້ງສໍາລັບແຫວນປະທັບຕາ
1. ສ່ວນທີ່ແຫວນທີ່ມີການຕິດຕັ້ງຫຼືຜ່ານການຕິດຕັ້ງຫຼືຜ່ານຕ້ອງລຽບ, ບໍ່ມີດອກໄມ້, ຮ່ອງແລະແຈແຫຼມ. ຄວາມຫຍາບຄາຍຂອງຂຸມພາຍໃນຄວນບັນລຸ1.6μແລະຄວາມຫຍາບຂອງເພົາຄວນຈະບັນລຸ 0.8um.
2. ສະບາຍນ້ໍາມັນເບົາຫຼືນ້ໍາມັນໃຫ້ສະອາດເພື່ອເຮັດໃຫ້ພື້ນຜິວຂອງແຫວນປະທັບຕາແລະສ່ວນທີ່ກ່ຽວຂ້ອງໃນການຕິດຕໍ່.
3. ຖ້າມັນຍາກທີ່ຈະຕິດຕັ້ງແຫວນປະທັບຕາຢູ່ເທິງເພົາ, ຈຸ່ມນ້ໍາຮ້ອນເປັນເວລາສອງສາມນາທີເພື່ອຂະຫຍາຍມັນ. ເຄື່ອງຕິດຕັ້ງທີ່ງ່າຍແລະຂະຫຍາຍໄດ້ງ່າຍກວ່າ. ຕິດຕັ້ງແຫວນ O ເມື່ອມັນຮ້ອນ, ແລະຂະຫນາດຂອງມັນຈະກັບຄືນສູ່ຂະຫນາດເດີມຫລັງຈາກເຮັດໃຫ້ເຢັນລົງ.
4. ຢ່າງໍຂອງ-ring ຢ່າງຮຸນແຮງເກີນໄປ, ຖ້າບໍ່ດັ່ງນັ້ນມັນກໍ່ຈະເຮັດໃຫ້ເກີດຮອຍຫ່ຽວໃນ Teflon ແລະສົ່ງຜົນກະທົບຕໍ່ການນໍາໃຊ້ຂອງມັນ.
ການບີບອັດທີ່ແນະນໍາກ່ຽວກັບແຫວນ O-ແຫວນທີ່ຖືກບັງຄັບແມ່ນດັ່ງຕໍ່ໄປນີ້:
ສະຖານະພາບ Static Seating: 15% -20%
ລັດການປະທັບຕາແບບເຄື່ອນໄຫວ: 10% -12%
ລັດ Pneumatic: 7% -8%
ການບີບອັດຕົວຈິງຄວນຄໍານຶງເຖິງສະພາບການເຮັດວຽກ, ໂດຍສະເພາະແມ່ນຄວາມກົດດັນໃນການເຮັດວຽກແລະປັດໃຈອື່ນໆ.
ຄຸນລັກສະນະຂອງຜະລິດຕະພັນແລະການນໍາໃຊ້:
| ຕາຕະລາງພາລາມິເຕີພາລາມິເຕີ O-ring |
|
|
|
|
ປະທັບຕາສະຖິດ | ປະທັບຕາເຄື່ອນໄຫວ |
| ຄວາມກົດດັນໃນການເຮັດວຽກ | ໂດຍບໍ່ມີການຮັກສາແຫວນ, Max 20mpa ດ້ວຍແຫວນທີ່ເກັບໄວ້, MPA 40 MPA, RIND ພິເສດ 200MPA Max | ໂດຍບໍ່ມີການຮັກສາແຫວນ, 5mpa Max ກັບແຫວນທີ່ຮັກສາ, ຄວາມກົດດັນສູງຂື້ນ |
| ຄວາມໄວ | reciprocating 0.5m / s max, ການຫມູນວຽນ 2m / s max | |
| ອຸນຫະພູມ | ການນໍາໃຊ້ທົ່ວໄປ: -30 ~ + 110, ຢາງພິເສດ: -60 ~ + + 250, ຫມູນວຽນ: -30/30 + + 80 | |
| ກາງ | ເບິ່ງສ່ວນວັດສະດຸ | |
| ມາດຕະຖານ | ເສັ້ນຜ່າສູນກາງການຂ້າມຜ່ານ O-RING |
|
|||||
| ມາດຕະຖານອາເມລິກາເປັນ 568 ປະເທດອັງກິດມາດຕະຖານ BS 1516 | 1.78 | 2.62 | 3.52 | 5.33 | 6.99 | - | |
| ມາດຕະຖານຍີ່ປຸ່ນ b2401 | 1.9 | 2.4 | 3.1 | 3.5 | 5.7 | 8.4 | |
| ສາກົນ Stage iso 3601/1 ມາດຕະຖານເຢຍລະມັນ DIN 3771/1 CB ມາດຕະຖານຂອງຈີນ 3452.1 | 1.8 | 2.65 | 3.55 | 5.30 | 7.00 | - | |
| ຂະຫນາດ metric ທີ່ຕ້ອງການ | 1.0 | 1.5 | 2.0 | 2.5 | 3.0 | 3.5 | |
| 4.0 | 4.5 | 5.0 | 5.5 | 6.0 | 7.0 | ||
| 8.0 | 10.0 | 12.0 |
|
|
|
||
| ມາດຕະຖານອາເມລິກາເປັນ 568 (900 ຊຸດ) | 1.02 | 1.42 | 1.63 | 1.83 | 1.98 | 2.08 | |
| 2.21 | 2.46 | 2.95 | 3.00 |
|
|
|
|
| ລະດັບການສະຫມັກຂອງແຫວນດາວແມ່ນກວ້າງຫຼາຍ. ເລືອກວັດສະດຸທີ່ຖືກຕ້ອງຕາມອຸນຫະພູມ, ຄວາມກົດດັນແລະສື່ກາງ. ເພື່ອດັດແປງວົງການດາວໃນການສະຫມັກທີ່ໄດ້ຮັບ, ຂໍ້ຈໍາກັດເຊິ່ງກັນແລະກັນລະຫວ່າງຕົວກໍານົດການເຮັດວຽກທັງຫມົດຄວນໄດ້ຮັບການພິຈາລະນາ. ໃນເວລາທີ່ກໍານົດລະດັບການສະຫມັກ, ອຸນຫະພູມສູງສຸດ, ອຸນຫະພູມທີ່ເຮັດວຽກຢ່າງຕໍ່ເນື່ອງແລະວົງຈອນການເຮັດວຽກຢ່າງຕໍ່ເນື່ອງແລະຮອບວຽນຕ້ອງໄດ້ຮັບການພິຈາລະນາ. ໃນການສະຫມັກແບບຫມູນວຽນ, ການເພີ່ມຂື້ນຂອງອຸນຫະພູມທີ່ເກີດຈາກຄວາມຮ້ອນຂອງຄວາມວຸ້ນວາຍກໍ່ຕ້ອງໄດ້ຮັບການພິຈາລະນາ. | |||||
| ພາລາມິເຕີດ້ານວິຊາການ | ປະທັບຕາເຄື່ອນໄຫວ | ປະທັບຕາສະຖິດ |
|
||
| ການເຄື່ອນໄຫວຄືນໃຫມ່ | ການເຄື່ອນໄຫວຫມູນວຽນ |
|
|||
| ຄວາມກົດດັນໃນການເຮັດວຽກ (MPA) | ກັບແຫວນທີ່ຮັກສາໄວ້ | 30 | 15 | 40 |
|
| ໂດຍບໍ່ມີການຮັກສາແຫວນ | 5 | - | 5 |
|
|
| ຄວາມໄວ (m / s) | 0.5 | 2.0 | - |
|
|
| ອຸນຫະພູມ (℃) | ບາງໂອເປີທົ່ວໄປ: -30 ℃ ~ + 110 ℃ |
|
|||
| ເອກະສານພິເສດ: -60 ℃ ~ 200 ℃ |
|
||||
| ໂອກາດຫມູນວຽນ: -30 ℃ ~ + 80 ℃ |
|
||||
ອຸປະກອນການແຫວນດາວ:
ອຸປະກອນການດັ່ງກ່າວແມ່ນ Shaw A70 Nitrile Raps Nbr.
ເຄືອບ O-Ring:
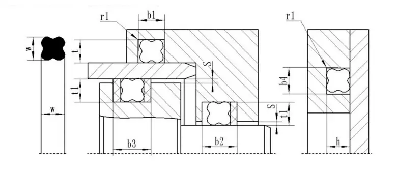
ແຜນວາດແບບ Schematic ຂອງຮ່ອງຂອງວົງແຫວນທີ່ມີຂະຫນາດໃຫຍ່
ຕາຕະລາງຂະຫນາດຂອງຮ່ອງຂອງແຫວນ O-RSCAPLATION (ແນະນໍາ)
| ເສັ້ນຜ່າສູນກາງ D | a (mm) | b (ມມ) | ||
| ປະທັບຕາສະຖິດ | ປະທັບຕາເຄື່ອນໄຫວ | ປະທັບຕາ pneummic | ||
| 1.78 | 2.36 / 2.49 | 1.42 / 1.52 | 1.55 / 1.60 | 1.63 / 1.65 |
| 2.62 | 3.56 / 3.68 | 2.08 / 2.21 | 2.29 / 2.36 | 2.39 / 2.44 |
| 3.53 | 4.75 / 4.88 | 2.82 / 3.00 | 3.10 / 3.18 | 3.22 / 3.28 |
| 5.33 | 7.14 / 7.26 | 4.27 / 4.52 | 4.67 / 4.80 | 4.90 / 4.95 |
| 6.99 | 9.63 / 9.65 | 5.59 / 5.89 | 6.15 / 6.27 | 6.43 / 6.48 |
ຄູ່ມືການຕິດຕັ້ງປະທັບຕາ PTFE
ⅰ. ຄູ່ມືການຕິດຕັ້ງ
1. ປະທັບຕາຕ້ອງໄດ້ຕິດຕັ້ງຢູ່ດ້ານຂ້າງທີ່ຖືກຈັດຕັ້ງ, ປະເຊີນກັບທິດທາງຄວາມກົດດັນ.
2. .
3. ແຄມແຫຼມຕ້ອງບໍ່ມີໄຟໄຫມ້ແລະເປັນຮູບກົມຫລື chamfered.
4. ກະທູ້, ຄູ່ມືຂອງວົງແຫວນສຽງແລະອື່ນໆຄວນຈະຖືກປົກຄຸມ, ເພາະວ່າປະທັບຕາບໍ່ສາມາດຖືກຍູ້ຜ່ານຮ່ອງ, ຂຸມລອຍນ້ໍາຫລືພື້ນທີ່ຫຍາບ.
5. ຂີ້ຝຸ່ນ, ຂີ້ຝຸ່ນຫຼືອະນຸພາກຕ່າງປະເທດອື່ນໆທີ່ຕ້ອງໄດ້ຮັບການໂຍກຍ້າຍອອກຢ່າງລະມັດລະວັງ.
.. ເຄື່ອງມືທີ່ມີແຄມແຫຼມບໍ່ຄວນໃຊ້.
7.
8. ຖ້າປາກຂອງປະທັບຕາຈໍາເປັນຕ້ອງໄດ້ຜ່ານຮູທີ່ມີຄວາມກົດດັນຂອງນ້ໍາມັນ, ຄວນໃຊ້ປາກເພື່ອປ້ອງກັນບໍ່ໃຫ້ຮູຂຸມຂົນ. ຂຸມຂອງກະບອກສູບຄວນຈະເປັນ chamfered. (ຮູບທີ 3)
ⅱ. ວິທີການຕິດຕັ້ງ
ເປີດ (ແບ່ງປັນ) ຮ່ອງສາມາດຕິດຕັ້ງໄດ້ໂດຍບໍ່ຕ້ອງມີເຄື່ອງມື.
ການຕິດຕັ້ງປະທັບຕາຂອງ Groove Pisto Piston (ຮູບ 1)
1. ສະອາດແລະນ້ໍາມັນທັງຫມົດປະທັບຕາ, ປະທັບຕາແລະເຄື່ອງມືຕິດຕັ້ງ.
2. ວາງແຫວນຢາງໃສ່ໃນຮ່ອງ (ຈົ່ງລະມັດລະວັງບໍ່ໃຫ້ບິດມັນ).
3.
4. ຍູ້ການຟື້ນຕົວຂອງ Mandrel ໃຫ້ປະທັບຕາແລະຄ່ອຍໆຫັນ mandrelrel. ປ່ອຍໃຫ້ 1 ນາທີແລະເອົາ Mandrel ອອກ. ການຕິດຕັ້ງສໍາເລັດແລ້ວ.
ການຕິດຕັ້ງປະທັບຕາ Piston ໃນຮ່ອງທີ່ປິດ (ຮູບ 2)
1. ສະອາດແລະນ້ໍາມັນທັງຫມົດປະທັບຕາ, ປະທັບຕາແລະເຄື່ອງມືຕິດຕັ້ງ.
2. ວາງແຫວນຢາງໃສ່ໃນຮ່ອງ (ຈົ່ງລະມັດລະວັງບໍ່ໃຫ້ບິດມັນ).
3. ຍູ້ແຫວນປະທັບຕາ PTFE ໃສ່ແຂນເສື້ອຄູ່ມືແລະຍືດແຫວນປະທັບຕາ.
4. ຍູ້ແຫວນປະທັບຕາທີ່ຍືດຍາວໃສ່ໃນຮ່ອງ.
5. ຍູ້ແຂນທີ່ມີການແກ້ໄຂໃຫ້ແຫວນປະທັບຕາແລະຫມຸນແຂນທີ່ຖືກແກ້ໄຂໃນເວລາດຽວກັນ. ເອົາແຂນທີ່ຖືກແກ້ໄຂອອກຫຼັງຈາກອອກຈາກມັນເປັນເວລາ 1 ນາທີແລະການຕິດຕັ້ງສໍາເລັດແລ້ວ.
ຫມາຍເຫດ: 1. ກະລຸນາປຶກສາບໍລິສັດຂອງພວກເຮົາຖ້າຜະລິດຕະພັນທີ່ລະບຸໄວ້ໃນຕົວຢ່າງຂອງບໍລິສັດຂອງພວກເຮົາບໍ່ສາມາດຕິດຕັ້ງໄດ້ໃນຮ່ອງທີ່ປິດແຕ່ບໍ່ເຫມາະສົມກັບຮ່ອງທີ່ເປີດ.
2. ການຕິດຕັ້ງຂ້າງເທິງຂອງປະທັບຕາ PTFE ບໍ່ສາມາດໃຊ້ໄດ້ກັບປະທັບຕາຂອງ PTFE ທັງຫມົດ. ກະລຸນາປຶກສາບໍລິສັດຂອງພວກເຮົາຖ້າຈໍາເປັນ.



























ທີ່ຢູ່
No.1 Ruichen ຖະຫນົນອຸດສາຫະກໍາຕ່າງໆ, ເມືອງ Chengyang City, ເມືອງ Qingdao City, ແຂວງ Shandnong, ຈີນ